產品特點
特點:
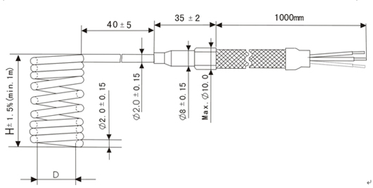
電加熱圈能緊密的與噴嘴芯部等筒體器件接觸,傳熱性能高,加熱穩(wěn)定可靠,亦可內置控溫熱電偶,實現加熱控溫一體化,使用方便。
QD3.5電加熱圈03
H | H | |||||||||
20 | 40 | 60 | 80 | 100 | 120 | 140 | 160 | 180 | 200 | |
10 | / | 200 | 250 | 250 | 300 | 300 | 350 | 350 | 400 | 400 |
16 | / | 300 | 350 | 350 | 400 | 400 | 450 | 450 | 500 | 500 |
22 | 250 | 350 | 400 | 400 | 450 | 450 | 500 | 500 | 550 | 550 |
25 | 300 | 400 | 450 | 450 | 500 | 500 | 550 | 550 | 600 | 600 |
32 | 350 | 450 | 500 | 500 | 550 | 550 | 600 | 600 | 650 | 650 |
38 | 400 | 500 | 550 | 550 | 600 | 600 | 700 | 700 | 800 | 800 |
42 | 450 | 600 | 600 | 700 | 700 | 800 | 800 | 850 | 900 | 900 |
50 | 500 | 700 | 800 | 800 | 900 | 900 | 1000 | 1000 | 1100 | 1200 |
60 | 550 | 750 | 800 | 850 | 900 | 950 | 1000 | 1100 | 1200 | 1300 |
75 | 600 | 800 | 850 | 900 | 950 | 1000 | 1100 | 1200 | 1300 | 1400 |
90 | 650 | 850 | 900 | 1000 | 1100 | 1200 | 1300 | 1400 | 1500 | 1600 |
100 | 700 | 950 | 1000 | 1100 | 1200 | 1300 | 1400 | 1500 | 1600 | 1800 |
注:除上述列表外的其它內徑、高度、功率。請與本公司取得聯系,可以定做。